

山東威力重工為拉伸封頭液壓機廠家,定制1000噸拉伸液壓機,采用三梁四柱結構或者框架式結構液壓機產品。拉伸封頭設備需要選擇帶液壓墊或頂出缸的液壓機產品。封頭拉伸成型液壓機是一種封頭一次成型設備,封頭生產廠家批量化生產所采用的封頭生產設備。也稱為封頭拉伸機1000噸帶多頂桿封頭液壓機、封頭油壓機、封頭拉伸機、封頭拉伸液壓機、封頭成型液壓機等。封頭拉伸成型液壓機是一種中型封頭拉伸機,屬于封頭冷壓機,可以生產直徑1米~1.8米范圍內的冷壓封頭,料板厚度為5mm~6mm,拉伸高度(封頭起鼓高度)為200mm~350mm。

山東威力重工封頭拉伸機1000噸帶多頂桿封頭液壓機主要適用于各類壓力容器封頭的冷、熱成型壓制,也可以用于各類厚、薄鋼板的壓鼓、折邊、校平等工藝。壓力機具有獨立的動力機構和電氣系統,并采用集中控制,可實現調整、手動、半自動、全自動四種操作方式,工作壓力、壓制速度、行程范圍可調節,并能完成頂出、不帶頂出、拉伸三種工藝的自動循環,有定壓、定程二種成型工藝供選擇。



山東威力重工封頭拉伸液壓機

拉伸封頭液壓機加工車間
封頭拉伸機1000噸帶多頂桿封頭液壓機拉伸成型工藝屬于沖壓成型方法的一種。封頭液壓機是專門用于生產大型封頭、拉伸圓筒、大型金屬容器的專用設備。適用于金屬板材的冷壓彎曲、拉伸成型等工藝。
封頭拉伸機1000噸帶多頂桿封頭液壓機,三梁四柱式結構,經濟實用。液用控制采用整體式插裝集成系統,減少了泄漏點,動作可靠,使用壽命長。可實現定壓、定程兩種成型工藝,具有保壓延時時間可調。工作壓力、行程可在規定范圍內調節。采用按紐集中控制,具有調整、手動及半自動三種操作方式。

封頭拉伸機1000噸帶多頂桿封頭液壓機的特點:
1、采用液壓驅動,安全性能可靠,操作方便。
2、電機按需求采用可編程控制器。
3、液壓系統采用插裝閥或滑閥系統控制,實行按鈕集中控制或者PLC自動控制系統的液壓機。
4、其壓力、速度和行程可根據工藝需要進行調節,并能完成壓制成型和定型兩種工藝方式。
5、導柱、活塞桿中頻淬火后鍍硬鉻處理。
6、可進行剪切、拉伸、成型于一體的液壓設備,減少人工,自動上料,省時省力,產量高。
7、封頭拉伸機1000噸帶多頂桿封頭液壓機四柱式結構,剛性好、精度高、結構緊湊、經濟適用;
8、液壓控制采用插裝閥集成系統,泄露點少、沖擊小、動作可靠,可有效的保護模具和設備的使用壽命;
9、專業油缸密封元件,可靠性強,壽命長;
10、導軌自動潤滑裝置,充分保護導柱,保持精度;
11、機電一體化安全裝置,如:油缸下腔支撐回路、油缸上下腔互鎖回路等,有良好的安全性;
12、電氣系統采用PLC控制,可實現一鍵操作,工序簡單易操作;
13、封頭拉伸機1000噸帶多頂桿封頭液壓機可實現定壓、定程兩種成型工藝,具備保壓延時功能;
14、根據不同工藝,工作壓力、行程可在一定范圍內調節,簡單易操作;

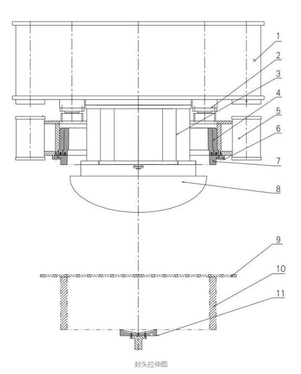
拉伸封頭液壓機結構展示

拉伸封頭液壓機結構展示
拉伸封頭液壓機常用技術參數型號如下:
1、壓力:
200噸315噸400噸500噸600噸800噸1000噸3000噸4000噸5000噸6000噸7000噸8000噸10000噸12000噸16000噸等壓力壓力大小均可設計制作定做各種非標要求。
2、工作臺面:
200*200,300*300,400*400,500*500,600*600,800*800,1000*1000,1200*1200,1300*1300,1500*1500,2000*2000,3000*3000,4000*4000,等各種尺寸
3、開口尺寸:
100毫米至4000毫米
4、行程:
100,200,300,400,500,600,800,900,1000,1200,1500,1800,3200,
液壓機設備廠家在設計生產該設備時,遵循一定的生產流程,具體過程如下:
1、設計部根據客戶對封頭液壓機的需求出工程圖;
2、生產部根據圖紙開料,同時采購部根據配置清單采購所需配件;
3、封頭拉伸機1000噸帶多頂桿封頭液壓機開料完成之后需要進行焊接;
4、焊接完成之后對機架進行退火處理;
5、接下來整個機架進入龍門銑進行精加工;
6、隨后進入鏜床進行加工;
7、精密配件進行數控精加工;
8、對封頭拉伸機1000噸帶多頂桿封頭液壓機機架進行裝機工序;
9、對其進行噴涂工序;
10、再進行調試階段;
11、質檢部門出具機器檢測報告;
12、經考核驗機合格后,發貨到客戶現場;
13、進行封頭液壓機的安裝調試及售后服務。


山東威力重工機床有限公司(威力、天河、魯南精機品牌),是山東魯南地區機械行業規模較大的集團型生產企業,主要致力于銑床、鉆床、液壓機、刨床、鋸床、液壓機、剪板機、折彎機、數控車床、加工中心等重型機床設備生產與研發的高新技術企業,是市機床工業協會會員單位,曾經多次被評為“棗莊市消費者滿意單位”、“文明誠信私營企業”,擁有固定資產1.2億,占地面積100萬余平方米,企業根據市場要求,采用ISO9001國際質量體系認證,產品質量穩定,性價比高,深受國內外用戶歡迎。企業秉承“質量第一、信譽至上”的管理概念。從零部件直到產品出廠,都逐一經過嚴格的控制和檢驗,雄厚的經濟實力,先進的技術設備,完善的檢測手段,務實的工作作風,以及優秀的全程管理,構筑了山東威力重工機床有限公司的優良品質和信譽。
山東威力重工部門:
銑床事業部:主要生產立式升降臺銑床,鉆銑床,臥式銑床,萬能升降臺銑床,搖臂銑床,萬能回轉頭銑床等;
數控機床事業部:主要生產、數控銑床、數控車床、加工中心等機床;
鉆床事業部:主要生產搖臂鉆床、機械搖臂鉆、液壓搖臂鉆床、萬向搖臂鉆床、立式鉆床等;
壓力機事業部:主要主要生產J23開式可傾壓力機(液壓機)、J21開式固定臺壓力機(液壓機)、JB21開式固定臺深喉口壓力機(液壓機)及JE21開式固定臺壓力機(液壓機)等:
剪板機、折彎機事業部:主要生產各種規格機械剪板機、液壓剪板機、液壓折彎機等;
液壓機事業部:主要生產液壓機、三梁四柱液壓機、單柱液壓機、框架式液壓機、熱鍛液壓機等;
刨床事業部:生產刨床、牛頭刨床液壓牛頭刨床等;
鋸床事業部:主要生產各種金屬帶鋸床;
機床附件配件事業部:主要為以上事業部機床配件、機床附件等;
可按客戶要求加工定制,如液壓機的臺面大小、行程長短、開口高低、工作壓力、運行速度、自動上下料、自動/半自動等。量身打造優質液壓機設備,滿足客戶生產工藝需求。




封頭拉伸機1000噸帶多頂桿封頭液壓機
廠家直銷 質量保證采購:封頭拉伸機1000噸帶多頂桿封頭液壓機
質量承諾
山東威力重工全面做到:售前、售中、售后熱情服務。
主動:安裝、調試、培訓、等。及時:接到電話后,以很快捷的方式做出解決方案,保證用戶滿意。
物流配送
部分封頭拉伸機1000噸帶多頂桿封頭液壓機現貨供應,當天訂貨,當天發貨,購買便捷。
為了滿足客戶對產品時間上的要求,山東威力重工采取多種配送方式 : 1. 送貨上門;2. 客戶自提;3. 快遞上門;4. 加急貨件的發送可根據您的要求進行特快安排。
付款及聯系方式
山東威力重工液壓機有限公司
電話:18306370978(同微信) 傳真:0632-5863818
郵箱:2335649786@qq.com
公司地址:滕州市經濟開發區春藤路999號
威力資訊
- 2025-09-06 液壓機廠家三款污泥脫水壓濾機怎么選?
- 2024-03-09 鍛造鋁合金液壓機怎么選型?廠家出具方
- 2023-08-04 鋁合金球頭液壓機(框架式)使用機型介
- 2023-07-01 500噸框架式液壓機壓制耐火蛭石板工藝
- 2023-06-07 315噸拉伸風機外殼液壓機客戶案例
- 2023-05-17 鍛造截齒專用四柱液壓機(鍛造專用設備
- 2023-04-23 315噸液壓機沖壓哪些型號礦用錨桿托盤?
- 2023-03-21 1000噸四柱液壓機鍛造汽車長軸配機械手
- 2023-02-08 500噸框架式液壓機用于多向鍛造汽車配件
- 2023-01-28 蛭石板怎么壓塊成型?400噸四柱液壓機廠
威力產品分類
封頭拉伸機1000噸帶多頂桿封頭液壓機關產品
聯系威力
山東威力重工液壓機有限公司
電話:18306370978(同微信)
手機:18306370978
傳真:0632-5863818
Email:2335649786
公司地址:滕州市經濟開發區春藤路999號

多年專注液壓機機械行業













